發布時間:2022-11-25
閱讀量:66次
基于網關組態實現空壓機遠程監控系統
隨著物聯網各種技術快速發展,各物聯網遠程監測應用場景也應用而生,以空壓機為例:空壓機是一種空氣壓縮和氣體輸送設備,廣泛運用于礦山、機械、電子、醫療等各行業??諌簷C常規都是需要人在現場監測和維護,現在通過物聯網技術,遠程監控成為可能,運維人員就可以坐在監控室里對空壓機進行監控,而且通過網絡隨時進行遠程監控。通過華辰智通網關無線傳輸設備和組態軟件支持Internet訪問,是一種真正的客戶服務器模式,而且能夠比較容易地開發出良好的監控畫面,網絡配置簡單。

空機壓監控要求
空壓機監控包括兩方面內容,首先采集空壓機的相關參數,然后分析采集到的數據作出相應的控制和處理,以保證空壓機的正常運行和按工藝要求運行
需采集的參數
各壓縮機電機轉速、電壓、電流;各級吸氣壓力、排氣壓力、氣瓶組壓力、潤滑油壓力等;各級吸氣溫度、排氣溫度、油溫、冷卻水溫、壓縮機站內環境監控、電機繞組和軸承溫度等。
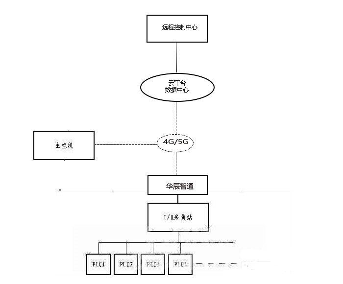
基于網關無線傳輸組態的系統網絡結構
組態完全基于網關無線傳,是一種真正的客戶服務器模式,可運行在基于TCP/IP網絡協議的網上。組態網絡結構是一種柔性結構,可以將整個應用程通過網關傳輸給多個服務器,可以引用遠程站點的變量到本地使用(顯示、計算等)。服務器的分配可以是基于項目中不同的功能,用戶可以根據系統需要設立專門的IO服務器、歷史數據服務器、報警服務器和登錄服務器等?;诰W關的組態空壓機遠程監控系統可以采用如圖所示的網絡結構。

在圖示的網絡結構中,PLC與現場的傳感器、變送器和調節機構相連,完成對壓縮機相關參數的檢測和現場的控制。I/O采集站只負責設備數據采集,通過華辰智通網關實現無線傳輸,數據服務器集報警服務器、歷史數據服務器和登錄服務器的功能于一身,負責報警信息的驗證和記錄,歷史數據的記錄和用戶登錄的驗證。主控機可以瀏覽I/O采集站上的實時數據 ,查看I/O站點的報警信息,查詢I/O站點的歷史記錄,可以實現對IO站點連接設備的控制。在此,主控機其實還充當服務器,因為組態服務器系統處理遠程IE端的訪問請求,無需額外的服務器。遠程監控終端通過網絡能夠在任何地方對空壓機進行遠程監控。
HINET - 工業邊緣計算網關
HINET·G系列邊緣計算網關,是華辰智通最新推出的—款面向工業現場設備接入、數據采集、設備監控的工業級邊緣計算網關。
采用ARM Cortex-A7 800MHz高性能CPU,擁有以太網、串口、CAN口、IO口等豐富的接口,支持以太網、2G/3G/4G網絡接入方式,可滿足絕大部分工業應用場景及工業設備接入。
功能介紹:
1、內嵌上百種工業協議,支持99%以上PLC及絕大多數工業設備接入;
2、8GB本地存儲+SD卡支待,支持本地數據緩存及離線應用;
3、三合一串口,支持RS485/RS232/RS422三種電氣接口;
4、支持協議:MODBUS-RTU協議、MODBUS-ASCII協議、MODBUS-TCP協議、CompactLogix/ControlLogix系列以太網協議、MicroLogix系列以太網協議、SLC500/MicroLogix系列串口設備協議、OPC UA_Client協議 等協議;
5、網關可以采集PLC數據,然后通過MQTT協議上傳到平臺,通過我們的思普云平臺可以實現對設備運行狀態和數據的監控;
6、支持邊緣計算,在物聯網邊緣節點實現數據優化、實時響應、敏捷連接、模型分析等業務,有效分擔云端計算資源支持多臺設備同時接入;
7、支持DC9V~36V寬壓輸入,適應多種復雜工業現場;
8、支持網關健康自診斷,快捷檢測網關故障;
9、支持本地WEB端點表配置,支持本地組態設計和呈現;
10、支持多種標準的VPN (PPTP/ L2TP/IPSec/OpenVPN)。